SULANAPIDON SUUNNITTELU

Sulanapidon suunnittelu perustuu lämmitettävän pinta-alan, käyttötarkoituksen ja kuormitustekijöiden huolelliseen arviointiin.

Sulanapidon suunnittelu

RauHeat MELT -sulanapitojärjestelmä on tehokas ja energiatehokas ratkaisu ramppien, kävelyalueiden, torien, katosten, piha-alueiden ja muiden ulkotilojen sulanapitoon. Tämä sivu on suunnattu erityisesti LVI-suunnittelijoille, jotka vastaavat sulanapitojärjestelmien mitoituksesta, suunnittelusta ja liittämisestä lämmönlähteisiin.

Suunnittelun lähtökohdat

Sulanapitojärjestelmän mitoituksen perusta on lämmitettävä pinta-ala sekä järjestelmän käyttötarkoitus. Pinta-ala ja sille kohdistuva kuormitus määrittävät:

  • putkiston mitoituksen
  • tarvittavan lämmitystehon
  • piirien lukumäärän ja pituuden
  • virtaamat ja painehäviöt

Tyypillisiä käyttökohteita ovat esimerkiksi rampit, portaat, kävelykadut, lastausalueet ja liikuntakentät.

Sulanapitojärjestelmä MELT
sulanapidon suunnittelu

LÄMPÖTEHON MÄÄRITTÄMINEN

Lämpötehon tarve riippuu kohteen olosuhteista, lumikuormasta ja halutusta sulatustehokkuudesta.

Tyypillinen mitoituslämpöteho:150–300 W/m²

Tarkempi arvo valitaan alueen käyttötarpeen, ilmasto-olosuhteiden sekä alusrakenteiden perusteella.

Esimerkkejä: 

  • Ajorampit, joissa ei ole katosta päällä, katujen kävelyalueet yms. Alueella jossa ei ole muuta talvikunnossapitoa ja lähtökohta on, ettei kadunpinta pääse koskaan jäätymään: 300 W/m²
  • Laajat torialueet ja alueet joissa hyväksytään ääriolosuhteissa lyhytaikainen pinnan jäätyminen: 250 W/m²
  • Jalkapallokentät tai vastaavat urheilualueet, joita pidetään käyttökunnossa n.11 kk/vuodessa: 200 W/m²

 

YHTEENSOPIVAT LÄMMÖNLÄHTEET

 

RauHeat MELT -järjestelmä toimii monien eri lämpölähteiden kanssa.

Sopivat lämmönlähteet:

  • maalämpö
  • kaukolämpö
  • sähkö
  • hukkalämpö (lauhde- ja prosessilämpö erityisen suotuisia)

Menoveden lämpötila:

4060 °C

Järjestelmä on suunniteltu toimimaan laajalla lämpötila-alueella kustannustehokkaasti.

PUTKISTO JA ASENNUS


Putkityypit
RauHeat MELT -järjestelmässä käytetään pääasiassa:

  • PE-RT 25 × 2,3 mm (suositus suurten virtaamien ja painehäviöiden vuoksi)
  • PE-RT 20 × 2,0 mm (pienille sulanapitoalueille)

Asennustekniset arvot

  • Putkiväli: 150250 mm
  • Putkimenekki: n. 5 m/m²
  • Asennussyvyys: 3070 mm
  • Alapuolinen eristys: vähintään 50 mm lämmöneristelevyä, jotta lämpö suuntautuu ylöspäin

Putkisto tulee suojata ennen asennusta auringonpaisteelta ja säilyttää kääreessään +0 °C tai sitä lämpimämmässä vähintään vuorokauden ajan.

PIIRISUUNNITTELU JA TASAPAINOTUS


Piirien pituudet

Jotta järjestelmä toimii tasapainoisesti, sulanapitopiirien pituuserot tulee pitää enintään ±10 % sisällä.

Jos pituuksissa on suuria eroja, erimittaiset piirit sijoitetaan eri jakotukeille. Jakotukeilla käytetään ensisijaisesti vain sulkuja.

Virtaama- ja painehäviövaatimukset

  • Yksittäisen piirin vähimmäisvirtaama: 1,2 l/min
  • Putken sisäinen miniminopeus: 0,1 m/s
  • Virtaamien tulee olla turbulenttisia, jotta lämmönluovutus on luotettavaa

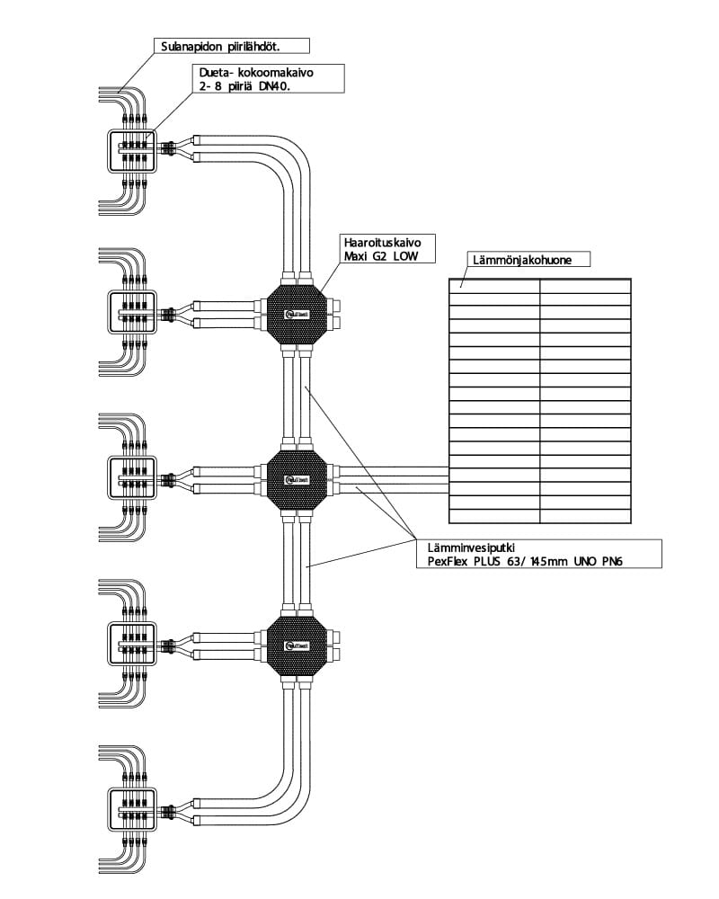
Jakotukkien sijoitus

Jakotukit voidaan asentaa:

  • sisätiloihin sulanapitoalueen viereen
  • tai maahan erillisiin jakokaivoihin

 

 

LÄMMÖNSIIRTO JA TURVALLISUUS


L
ämmönsiirtoneste

  • Käytetään 30–40 % etyleeniglykoliseosta
  • Tarjoaa hyvän pakkaskestävyyden ja korroosiosuojan

Huollettavuus

  • Kaikki huollettavat osat sijoitetaan helposti saavutettaviksi
  • Putkisto suojataan mekaanisilta vaurioilta ja UV-säteilyltä ennen asennusta
havainnekuva melt
MELT sulanapito

SÄÄTÖ


Sulanapitoj
ärjestelmän perussäätö tehdään:

  • esisäätöarvojen perusteella
  • tai laskettujen piirikohtaisten virtaamien mukaan

Perussäädöstä laaditaan pöytäkirja, josta käyvät ilmi:

  • perussäädön suorittaja
  • päivämäärä
  • säätöhetken ulkolämpötila

OSAAMISTA JA LAATUA KYLMIEN KAUSIEN HALLINTAAN

 Olemme luotettava kumppanisi nestekiertoisissa sulanapitoratkaisuissa, jotka kestävät vuodesta toiseen. Toimitamme kokonaisratkaisut suunnittelusta toteutukseen ja hyödynnämme vain hyvämaineisten valmistajien komponentteja. Näin varmistamme, että järjestelmä toimii luotettavasti, turvallisesti ja energiatehokkaasti koko elinkaarensa ajan

Jutellaanko lisää sulanapidosta? 

Vastaamme mielellämme kysymyksiin ja autamme suunnittelemaan juuri sinun kohteeseesi sopivan ratkaisun. Oli kyseessä pieni ajoluiska tai suurempi kaupunkialue, haluamme olla mukana projektissasi alusta asti. Ei tarvitse tietää mistä aloittaa – me autamme mielellämme! 

Kysy lisää
2012855p
RAUHEAT

Lattialämmitysputki PE-RT 5-kerros

  • Laadukas 5-kerros rakenne
  • Happidiffuusiosuojattu
  • Sopii koviinkin asennusolosuhteisiin – helppo asennus
  • Kestää lukuisia kemikaaleja
2014881p
RAUHEAT

PEX-syöttöputki suojaputkessa

  • Syöttöputki PE-suojaputkessa
  • Happidiffuusiosuojattu
  • Koko 35 mm tai 42 mm
3011173p
RAUHEAT

PexFlex PLUS PN6 UNO eristetty lämpöputki

  • Eristetty yksiputkinen lämpöputki Ø25-125 mm
  • Paineluokka PN6
  • Eristeen materiaali PUR
  • Energiatehokas – täyttää useimpien kohteiden vaatimukset
3011182p
RAUHEAT

PexFlex PLUS PN6 DUO eristetty lämpöputki

  • Eristetty kaksiputkinen lämpöputki Ø25-75 mm
  • Paineluokka PN6
  • Eristeen materiaali PUR
  • Energiatehokas – täyttää useimpien kohteiden vaatimukset
2012857p
RAUHEAT

Jakotukki

  • Jakotukki vesikiertoiselle lattialämmitysjärejstelmälle
  • Piirien määrä 2-12 kpl
  • Ruostumatonta terästä
2082300p
RAUHEAT

Jakotukkipari INDU sulanapito

  • Jakotukki sulanapito- ja teollisuuskohteisiin
  • Modulaarinen rakenne, maks. 24 piiriä
  • Runkokoko 1 1/2"
2002201p1
RAUHEAT

Kokoomakaivo DUETA

  • Kokoomakaivo 2-8:lle kollektoripiirille
  • Vesitiivis
  • Kompakti koko
  • Helposti muunneltavissa
3011343p
RAUHEAT

Haaroituskaivo Maxi G2

  • Uuden sukupolven haaroituskaivo
  • Modulaarinen rakenne – kaksi eri versiota
  • 8 tai 16 kytkentäyhdettä neljällä sivulla
  • Helppo asennus
2014994p
RAUHEAT

Kannatinrautapari INDU

  • INDU-jakotukin seinäkiinnitykseen
  • Tarvikeosa
  • Tarve 1 kpl/jakotukkikokonaisuus
2015321p
RAUHEAT

Sulkuventtiili INDU

  • Sulkuventtiili INDU-jakotukille
  • DN50
  • Kierre 2"
2015320p
RAUHEAT

Päätysarja INDU

  • Päätysarja sulanapidon INDU-jakotukille
  • 1/2" ilmaus- ja täyttöyhde
  • 2" päätyhattu tiivisteellä
Kysy asiantuntijalta
Ammattitaitoinen ja kokenut henkilökuntamme on valmiina palvelemaan ja löytämään sinulle oikean ratkaisun.

Täytä yhteydenottolomake

Tarvisetko apua tai lisätietoja? Täytä alla oleva lomake, niin otamme sinuun yhteyttä mahdollisimman pian!

Kiitos viestistänne!

Kiitos yhteydenotostasi! Palaamme sinulle mahdollisimman pian.

Hupsista, jotain meni pieleen.

Jotain näyttää menneen pieleen. Tarkista tietosi tai yritä myöhemmin uudelleen.
TARVITSETKO APUA?
Logo

Evästeet rauheat.com sivustolla

Evästeiden avulla voimme palvella sinua paremmin ja varmistamme sivuston sujuvan toiminnan. Voit hallinnoida evästeasetuksia koska tahansa.

Toiminnalliset evästeet

Nämä evästeet ovat välttämättömiä verkkosivuston toimimiseksi, eikä niitä voi poistaa käytöstä järjestelmissämme. Niitä käytetään yleensä vain vastauksena toimiin, jotka olet tehnyt palvelupyynnön yhteydessä, esimerkiksi henkilökohtaisten asetusten määrittämisen, kirjautumisen tai lomakkeen täyttämisen yhteydessä.

Tilastolliset evästeet

Tilastollisten evästeiden avulla seuraamme verkkosivustomme kävijöiden toimintaa ja teemme analyyseja, joiden avulla voimme optimoida verkkosivustoamme. Tämä tarkoittaa, että voimme kehittää sivustoamme toimivammaksi ja palvelemaan kävijöitä paremmin. Jos et hyväksy näitä evästeitä, emme tiedä, milloin olet käynyt sivustollamme. Voit kuitenkin käyttää sivustoamme normaalisti.

Markkinointievästeet

Markkinointievästeiden avulla voimme kohdentaa sinulle mainoksia eri verkkosivustoilla tai sisältöä sosiaalisessa mediassa. Näitä evästeitä asettavat kolmannen osapuolen mainonta- ja kohdistustyökalut. Evästeiden kautta nämä toimijat voivat muodostaa profiilin kiinnostuksesi kohteista. Jos et hyväksy näitä evästeitä, et näe kohdennettua markkinointia etkä mahdollisesti voi käyttää sosiaalisen median jakotyökaluja.